实验室安全检查及问题回复
2024/12/26
一、实验室安全检查问题上传
信息门户 →实验室安全管理 | ![]() |
| 安全检查和隐患整改 | ![]() |
安全检查和隐患整改 →安全巡查 →巡查任务 →开始检查 |
|
| 检查 | ![]() |
添加隐患→ 隐患描述→ 上传图片→ 确定 | ![]() |
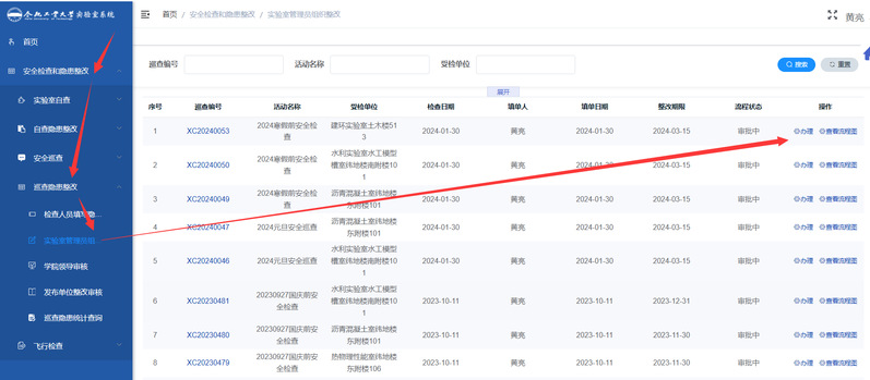
二、实验室安全检查问题回复
信息门户 →实验室安全管理 | ![]() |
| 安全检查和隐患整改 | ![]() |
| 实验室管理人员填写整改 | ![]() |
| 整改问题回复 | ![]() |
联系方式 学院地址:合肥市屯溪路193号 联系电话:0551-62902066 院长信箱:seqingnav.org